Aim
To investigate the detection and rectification of error signals in a position controller using operational amplifier circuits.
Apparatus
- U-152 Summing amplifier.
- U-156 DC power supply.
- U-157 Potentiometer.
- U-158 Potentiometer.
- Voltmeters.
- Patch chords.
Theoretical Background
An angular position controller’s primary role is to generate an output angular motion signal that perfectly mirrors the input angular position signal. The location information input or output is represented in terms of the specified angle within a circle (Storr, 2022a). In order to carry out the control function properly, the motor must be turned until the signal detected for the motor position is similar to the signal denoting the reference or the input position. A potentiometer converts the angular position into an electrical signal (Storr, 2022). The circuit diagram below shows a potentiometer-based angle-to-voltage converter (see Fig. 1).

In the diagram above (see Fig. 1), Pi represents the input potentiometer, and Po represents the output potentiometer. By default, the amplifier is set up to be inverting (-A) when the input and output are in the same place. In this case, inverting the polarity of Pi and Po leads to an amplifier with no output. This suggests that Pi is located at an angle of θ i, and Po is located at an angle of θ o, as is often assumed (Yawale et al., 2022).
Moreover, the notation θi – θo represents the relative angular position error between Pi and Po. As an example, if the error is amplified and converted, the output may be set to Ke (θi – θo), where Ke is a conversion factor. As a result, we are able to fix the mistake. It is possible to determine Ke for the system under discussion by measuring the voltage at the amplifier’s potential output.
A closed-loop control system may arise if the erroneous signal is amplified and then applied to a motor. When the motor is connected to the output potentiometer Po and reacts to the error signal, the loop is closed. For this reason, the circuit is closed. After the loop is closed, the operations of error detection and motor reaction do not end until the error signal decreases to zero.
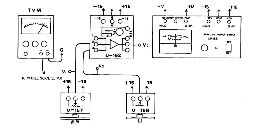
Procedure
Referring to the diagram below (see Fig. 2), modules and voltmeters were arranged and connected. The U-157 and the U-158 dials were set to 1800, and the power of the U-156 was turned on. Subsequently, the U-152 switch was set to “a,” and the voltage at the rotating contacts of U-157 and U-158 was measured. Since the voltage was not set at zero, the dials were adjusted for a zero reading. The output of U-152 was measured, which was zero, and U-157 turned clockwise at an angle of 50 (same as 1850).

The V1 and U-152 output error voltage, Vo, was then measured. The processes were repeated at 50 increments for up to 2700 positions, and the measurements were recorded in the table below (see Table 1). For step 6, U-157 was left constant, but U-158 was turned clockwise 50 degrees each time, and the V2 and U-152 output error voltage, Vo, was measured. At this time, the U-152 output was maintained at zero when the relative positions of U-157 and U-158 were identical.
Table 1: Clockwise measurements
Notably, the voltage polarity of U-157 and U-158 is opposite to each other for the same direction of rotation. Steps 6 and 7 were then repeated for counter-clockwise rotation, and the measurements were noted down as shown in Table 2.
Table 2: Counter-clockwise Measurements
The relationships between the positional difference and corresponding error voltage were then plotted as indicated in the diagrams below (see Fig. 3-4).


Conclusion
The summing amplifier produces zero output when the two inputs are the same in magnitude but opposite in polarity (Vo = V1 + (-V2)). In this case, a summing amplifier’s input resistances may be adjusted using a potentiometer to fine-tune the amount of mixture between the separate input signals. The experimental results can be applied in various industries. For instance, a negative offset voltage could be added to a thermometer so that the output voltage or display would read “0” at freezing, or an audio mixer could be made to merge the waveforms (sounds) from various input channels before sending the resulting signal to an amplifier.
Reference List
Safari, L. et al. (2019) ‘Traditional Op-Amp and new VCII: A comparison on analog circuits applications’, AEU-International Journal of Electronics and Communications, 110(1), p.152845. Web.
Storr, W. (2022a) Summing amplifier. Web.
Storr, W. (2022b) Operational amplifier basics – op-amp tutorial. Web.
Wang, S, F. et al. (2019) ‘Versatile tunable voltage-mode biquadratic filter and its application in quadrature oscillator’, Sensors, 19(10), p. 2349. Web.
Yawale, S. et al. (2022) Operational amplifier theory and experiments. Singapore: Springer Singapore.